Maksimerer bøyeeffektivitet med ESA S630-programmering
I metallbøyingsbransjen er ESA S630-programmering en kritisk driver for produktivitet. Denne artikkelen beskriver hvordan dens avanserte funksjoner effektiviserer bøyeoperasjoner, fra presis sekvensering til reduserte syklustider. Designet både for CNC-veteraner og nybegynnere, gir denne guiden de nødvendige innsiktene for å utnytte ESA S630 til maksimal driftseffektivitet og produksjon.
Omfattende liste over bøypeprogrammer
ESA S630-programmering gir et omfattende utvalg av spesialiserte programmer som er designet for å optimere bøyeoperasjoner for en rekke ulike anvendelser. Nedenfor finner du en oversikt over de tilgjengelige programtypene og deres respektive bruksområder:
1. Administrasjon av programliste:
Naviger til programlisten gjennom det dedikerte menygrensesnittet. Denne sentraliserte katalogen gir en strukturert oversikt over alle lagrede programmer, med mulighet til å vise detaljert programdata direkte ved å plassere markøren på en hvilken som helst oppføring.

Bruk rullefeltet for å navigere effektivt gjennom listen.
2. Oppretting og tilpasning av programmer:
Ny mappe: Organiser programmene dine ved å opprette nye mapper for enkel håndtering.
Nye numeriske og grafiske programmer: Sett opp nye programmer basert på numeriske data eller visuelle grafer, noe som øker presisjon og visualisering i komplekse operasjoner.
Kopier- og omdøpingsfunksjoner: Raskt dupliser programmer med nye navn, slik at du enkelt kan foreta modifikasjoner og tilpasse dem til spesifikke bøyingkrav.
Forhåndsvisning og redigering av programmer:
Aktiver forhåndsvisning av programmer for å visualisere grafiske programmer. Denne funksjonen kan slås av hvis en forenklet visning foretrekkes. Utfør redigeringer som omdøping eller kopiering direkte fra menyen, og forenkle dermed håndteringsprosessen.
3. Sikkerhetskopiering og overføring av data:
Lagre programmer til en USB-enhet for å overføre mellom ulike maskiner eller til sikkerhetskopiering. Denne funksjonen sikrer at dine bøyeprosesser alltid støttes, uavhengig av plassering.
Lagre eller slett flere programmer samtidig ved hjelp av de dedikerte alternativene, noe som sikrer effektiv datadministrasjon.
For å endre arbeidsenheten ved bruk av ESA S630-programmering, følg disse trinnene:
Trykk på knappen for å få tilgang til programlisten.
Naviger til menyen ved å trykke på den tilhørende knappen.
Velg alternativ 5 for å endre arbeidsstasjon.
Bruk fingeren din til å velge en arbeidsstasjon fra den viste listen.

Denne sekvensen sikrer at du bruker ESA S630-programmering effektivt, noe som forenkler oppsettingsprosessen og sikrer optimal maskinytelse.
Numerisk versus grafisk programinndata
Starter et numerisk program
For å legge inn et nytt numerisk program, trykk [Nytt program] fra Redigeringssiden for et numerisk program og velg [Nytt numerisk]:

Eller det kan opprettes fra programlisten ved å trykke og velge [Nytt numerisk].
ESA S630-programmering optimaliserer bøyeprosesser betydelig ved å forenkle nøkkeltasker. Her er en kort guide:
1. Angi delens data
Et vindu åpnes for inntasting av programdata:

Platens bredde: Trykk på feltet, skriv inn bredden og velg [Ok].
Platens tykkelse: Skriv inn tykkelsen på samme måte.
Motstandsverdier:
Aluminium: 0–30
Jern: 31-50
Rustfritt stål: >50


Automatisk materialberegning: Systemet beregner materiale basert på motstand, noe som reduserer manuell inntasting.
Oppsett av arbeidsstasjon: Skriv inn stasjonsnummeret hvis det er relevant; ellers la det stå som 0.
Valg av die og V-die:
Velg en die fra listen ved å trykke på feltet, bla og deretter trykke [Insert].
Velg den passende V-dien hvis det finnes flere; hvis bare én, skriv inn 1.
Punch-valg: Velg punch på samme måte ved å gå inn i listen, bla og trykke [Insert].
2. Innstilling og justering av bøyninger
Skriv inn ønsket bøylevinkel i Y1-vinkelfeltet.
Angi bøylengden i feltet Slutt X1.
Data beregnes automatisk, men kan tilpasses.
3. Administrering av arbeidsdata
Gå til 7>>Arbeidsinformasjon for å vise T.D.C, Mute- og Pinch Point-data.
Avslutt ved å velge [Ok].
4. Bøyoperasjoner
Kopier bøy: Naviger til målbøyingen, åpne menyen og velg 5>> Kopier steg.
Sett inn bøy: Plasser etter inngangspunktet, velg 4>> sett inn steg.
Sett inn kopiert bøy: Plasser den før målbøyingen ved å følge lignende trinn.
5. Radius og spesialbøyer
Bruk [Bumping a Radius] for å angi rullingsvinkler og radier, bekreft med [Confirm].
Juster hollandsk folding og koning ved å endre L.D.C. og nedre døde punkter i Y1 og Y2.
6. Håndtering av spesialiserte applikasjoner
Konusformede bøy: Angi konusvinkler via [Conic]-funksjonen.
Bøy utenfor V-dør: Skriv inn sluttverdier i L.D.C Y1/Y2 og sørg for høyere Pinch- og Mute-punkter.
7. Programstyring
Lagre programmer med 2>> Lagre som … for nye varianter av eksisterende programmer.
Når et verktøy byttes i prosjektet ditt for ESA S630-programmering, følg disse trinnene for å oppdatere programmet:
Last ned: Gå til og last ned programmet fra listen din.
Åpne redigeringsprogram: Gå til redigeringssiden og åpne menyen.
Oppdater program: Velg 3>> Programoppdatering for å åpne oppdateringsvinduet.
Beregn på nytt: Klikk [Ok] for å beregne alle data på nytt og sikre at korreksjoner blir lagt inn.
Lagre: Lagre det oppdaterte programmet hvis nødvendig.

Disse effektive arbeidsmåtene ved bruk av ESA S630-programmering kan øke nøyaktigheten og redusere feil, og dermed optimalisere bøyeoperasjonene dine.
Å angi et grafisk program (valgfritt i S630-modellen)
For å legge inn et nytt grafisk program, trykk [Nytt program] fra redigeringsiden til et numerisk program og velg [Nytt grafisk]:

Eller det kan opprettes fra programlisten ved å trykke og velge [Nytt grafisk].
1. Innstilling av generelle data
Når du bruker ESA S630-programmering, er det viktig å skrive inn riktige generelle data for å få tilgang til tegnefunksjonen. Følg disse trinnene:
Platedetaljer:
Skriv inn bredde og tykkelse, velg hvert felt og bekreft med [Ok].
Skriv inn materiellmotstand; systemet beregner egenskaper basert på dette.
Verktøy- og stasjonsoppsett:
Skriv inn arbeidsstasjonsnummeret, eller la det stå som 0 hvis det er enkelt.
Velg og sett inn matrisen fra listen.
Angi V-matrise (skriv inn 1 hvis bare én).
Sett matrise- og stansorientering (0 = standard, 1 = rotert 180°).
Velg og sett inn stansen fra listen.
2. Tegnevindu
Tegnevindusiden vil bli åpnet.

Venstre: Hovedtegningvindu.
Høyre: Fire inndatafelter for:
Polart tegnedata
Kartesisk tegnedata (vanligvis ikke brukt)
Radiusbøyer
Dutch Folding-bøyer (hefting)
3. Inndataprosess:
Start på Piece Set-siden der det første segmentet som standard er satt til 20,0 mm.

Endre dette ved å velge «l»-feltet for å åpne «Soft Keyboard».
Etter at endringer er bekreftet, fortsett med å justere den polare tegningen «alpha» ved hjelp av vinkler på «Soft Keyboard».


Angi forhåndsdefinerte vinkler eller skriv inn egendefinerte, deretter gå til neste lengdefelt for å fortsette designet.

4. Bøyerekkefølge
Gå til AUTOMATISK-grafikkside.
Velg 0>> Bøyesekvens for å effektivt håndtere og navigere mellom ulike bøyer.
5. Endre bakgrunnsfarge
Åpne menyen fra AUTOMATISK-siden.
Velg 1>> Endre farge for visuell tilpasning.
6. 3D-visning (valgfritt)
Gå til 3D-visning fra AUTOMATISK-siden. Velg element 3>> 3D-visning.
Bytt mellom 3D- og 2D-visning etter behov.
7. Utfør tegningen av en del
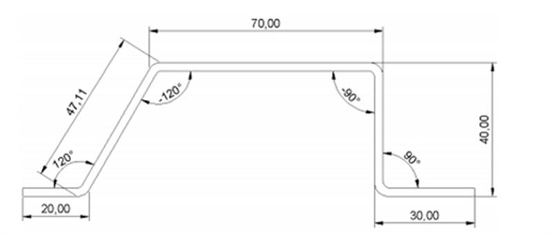
La oss anta at vi må tegne stykket illustrert i figuren nedenfor:

Oppsett: I tegnevinduet, skriv inn startsegmentlengden (f.eks. 20,0) i feltet «l» og trykk [Ok].
Vinkel- og lengdeinntasting:
Skriv inn den første vinkelen (120,0°) i feltet «alfa» og bekreft med [Ok].
Fortsett med automatisk tegning for neste lengde. Sørg for at det er markert.
Skriv inn den andre lengden (47,11) i feltet «l» og bekreft inntasting.
Sekvensielle inntastinger:
Skriv inn neste vinkel (-120,0°) i feltet «alfa» og trykk [Ok].
Fortsett med inntasting av tredje lengde (70,0) i feltet «l».
Angi den tredje vinkelen (-90,0°) ved hjelp av ESA S630-programmering og bekreft inntasting.
Fullførelse:
Skriv inn den fjerde lengden (40,0), fulgt av dens vinkel (90,0°) ved hjelp av feltet «alfa».
Legg til den femte og siste lengden (30,0) for å fullføre tegneprosessen.
8. Utfør en radiusbøyning
For å utføre en radiusbøyning, må det huskes at det i henhold til konvensjonen må være en lengde med metallplate før og etter radien.
La oss anta at vi må tegne stykket illustrert i figuren nedenfor:

For å effektivt opprette en radiusbøyning ved bruk av ESA S630-programmering, følg disse korte trinnene:
Initier lengde: Skriv inn startlengden på delen (f.eks. 20,0) i felt «I» og trykk [Ok].
Angi radiusparametre:
Velg [Bumping a Radius] for å åpne radiusinnstillingene.
Skriv inn rullevinkelen (f.eks. 90,0°) i «alfa» og trykk [Ok].
Skriv inn rulleradius (f.eks. 60,0) i «R» og bekreft.
Definer Pitch: Angi rulleavstanden i feltet "P" og trykk [Ok]. Systemet fortsetter automatisk.
Fullfør lengde: Skriv inn endelig stykelengde (for eksempel 30,0) i feltet "I" og bekreft med [Ok].
9. utfør en hollandsk bretting (innbretting)
La oss anta at vi må tegne delen vist på figuren:

Første inntasting: Skriv inn innbrettet sidelengde (30,0) i feltet "l".
Hollandsk bretting:
Trykk [Ok] og velg [Hollandsk bretting].
Angi brettevinkelen (45,0°) i feltet "alfa".
Automatisk tegning: Bekreft med [Ok] for å automatisk tegne og markere neste lengde.
Tilleggs lengder og vinkler: Skriv inn påfølgende lengder (100,0) i "I" og sett vinkler (-90,0°) i "alfa".
Siste trinn: Skriv inn den siste sidelengden (22,0) i «I» og bekreft med [Ok].
Bøyesekvensberegninger: Automatisk versus manuell
Valg av riktig metode for beregning av bøyesekvens på CNC-bøyemaskiner kan betydelig påvirke effektiviteten. Her er en kort sammenligning av automatiske og manuelle metoder, med innsikt i hvordan ESA S630-programmering optimaliserer prosessen.
Automatisk beregning

Prosess: Start via tegningssiden ved å trykke [Beregn]. En simulering viser oppsettet for bøyingen.
Optimalisering: ESA S630-programmering bestemmer automatisk den optimale sekvensen ved å trykke [Optimaliser].
Fordeler:
Effektivitet: Reduserer feil og syklustid gjennom optimal sekvensering.
Sikkerhet: Prioriterer operatørens sikkerhet ved å velge sekvenser som holder mest materiale i sikre håndteringssoner.
Manuell beregning
Prosess: Operatører manuelt tvinger fram sekvenser fra tegningssiden.
Fleksibilitet: Gir full eller delvis kontroll over sekvensen, egnet for komplekse bøyer.
Fordeler:
Kontroll: Gir større direkte innflytelse over prosessen for skreddersydde operasjoner.
Problemløsning: Muliggjør nøyaktige justeringer når man jobber med utfordrende bøyninger.
Når man bør bruke hver metode
Automatisk: Best egnet for konsekvente, enkle oppgaver der effektivitet er nøkkelen.
Manuell: Ideell for komplekse eller tilpassede oppgaver som krever detaljert kontroll og problemløsning.
ESA S630-programmering presterer godt i begge metoder og tilbyr forbedret automatisk optimalisering sammenlignet med eldre modeller som S540, noe som forbedrer bøyeffektivitet og tilpasningsevne.
Effektiv bøyning av kasser
For å bøye en kasse nøyaktig ved bruk av ESA S630-programmering, følg disse forenklede trinnene:
1. Oppsett av bøyeseksjon:
Opprett to programmer: Bruk ESA S630-programmering til å lage separate programmer for horisontale og vertikale bøyninger. Kjør dem sekvensielt, start med seksjonen med minst metallplatebredde.
2. Seksjonsstyring:
Legg til seksjoner: Trykk [Endre seksjon] for å legge til en ny seksjon.
Slett seksjoner: Naviger til seksjonen, åpne menyen og velg 6>> Slett seksjon for å fjerne den og gå tilbake til bøy 1 i seksjon 1.
3. Håndtering av vanlige utfordringer:
Feiljustering: Bruk simuleringfunksjonen i ESA S630 til å bekrefte bøyesekvenser og korrigere justering.
Syklustid: Optimaliser operasjonsrekkefølgen i ESA S630-programmering for å minimere omposisjonering og redusere syklustider.
Med disse konsise trinnene muliggjør ESA S630-programmering nøyaktig og effektiv boks-bøying.
Konklusjon
Kort sagt fører ferdigheter i ESA S630-programmering til betydelige forbedringer i bøyeeffektivitet gjennom sikret presisjon og repeterbare resultater. Nøkkelfaktorer for suksess inkluderer grundig forberedelse av arbeidsmiljøet, nøyaktig maskinkonfigurasjon og kalibrering, samt streng overholdelse av produsentens spesifikasjoner for verktøy og driftsprosedyrer. Ved å implementere disse strukturerte metodene kan produksjonslinjer operere med høyere kapasitetsutnyttelse og minimalt materialspill, noe som fører til målbare forbedringer i total produktivitet.
For spesialisert teknisk støtte eller skreddersydd veiledning, vennligst kontakt JUGAO-teamet. Vi er klare til å møte dine spesifikke behov og tilby ytterligere ressurser for videre optimalisering av dine bøypeglinger. Vi oppfordrer deg også til å utforske vårt fulle utvalg av teknisk dokumentasjon for å fortsette å forbedre din pressbremses ytelse og operative excellens.






































